Промышленные рукава AlfaGomma (Италия), фитинги Cast (Италия) - официальные поставки в Россию

Купить Фитинг DN 05 BSP (Ш) 1/4 от производителя Cast

108
руб.
Есть в наличии
Количество:
Доступно
Артикул:
802602
Вес:
0
кг.

Если Вы хотите заказать изделие из нержавеющей стали, замените первые две цифры артикула с 80.... на 81....

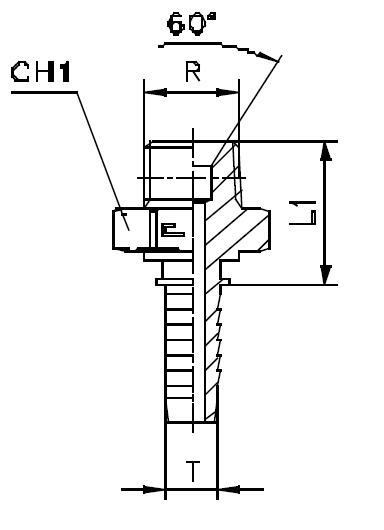
Характеристики

АртикулБрендDASHDNGID (дюйм)L1WP (bar)Тип фитинга
802602CAST-351/43/1622,5400BSP
  • DASH размер продукции (рукава, фитинги, TC)
    -3
  • DN (услов внут диам рукава, фитингов)
    5
  • ID (дюйм)
    3/16
  • WP (bar) рабочее давление
    400
  • Бренд
    Cast
  • Размер G фитинги Каст
    1/4
  • Размер L1 фитинги Каст
    22,5
  • Тип фитинга для РВД
    BSP