Промышленные рукава AlfaGomma (Италия), фитинги Cast (Италия) - официальные поставки в Россию

Купить Фитинг DN 06 DKO-L (Г) 14x1.5 8 от производителя Cast

98
руб.
Есть в наличии
Количество:
Доступно
Артикул:
801006
Вес:
0
кг.

Характеристики

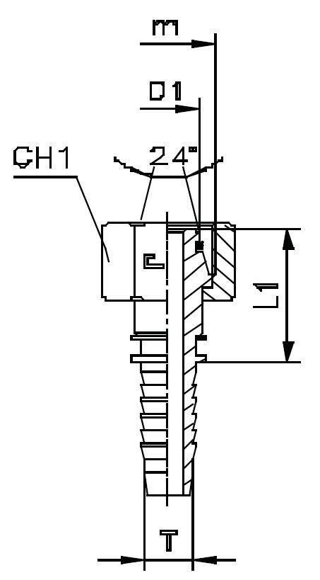
АртикулБрендD1DASHDNID (дюйм)L1WP (bar)М
801006CAST8L-461/423,531514x1.5
  • DASH размер продукции (рукава, фитинги, TC)
    -4
  • DN (услов внут диам рукава, фитингов)
    6
  • ID (дюйм)
    1/4
  • WP (bar) рабочее давление
    315
  • Бренд
    Cast
  • Размер L1 фитинги Каст
    23,5
  • Размер M фитинги Каст
    14x1.5
  • Размер соедин. D1 фитинги Каст
    8L