Промышленные рукава AlfaGomma (Италия), фитинги Cast (Италия) - официальные поставки в Россию

Купить Фитинг DN 08 BSP (Ш) 1/4 от производителя Cast

102
руб.
Есть в наличии
Количество:
Доступно
Артикул:
802606
Вес:
0
кг.

Если Вы хотите заказать изделие из нержавеющей стали, замените первые две цифры артикула с 80.... на 81....

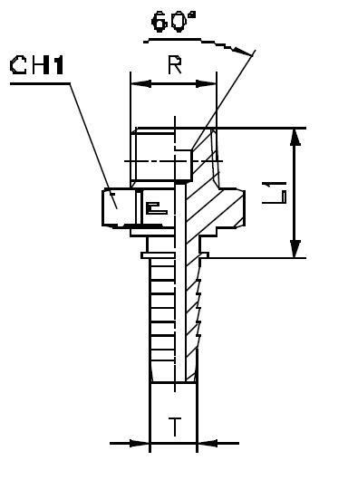
Характеристики

АртикулБрендDASHDNGID (дюйм)L1WP (bar)
802606CAST-581/45/1623350
  • DASH размер продукции (рукава, фитинги, TC)
    -5
  • DN (услов внут диам рукава, фитингов)
    8
  • ID (дюйм)
    5/16
  • WP (bar) рабочее давление
    350
  • Бренд
    Cast
  • Размер G фитинги Каст
    1/4
  • Размер L1 фитинги Каст
    23