Промышленные рукава AlfaGomma (Италия), фитинги Cast (Италия) - официальные поставки в Россию

Фитинг DN 12 BANJO 18x1.5

439
руб.
Есть в наличии
Количество:
Доступно
Артикул:
804717
Вес:
0
кг.

Если Вы хотите заказать изделие из нержавеющей стали, замените первые две цифры артикула с 80.... на 81....

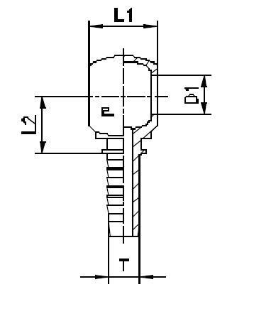
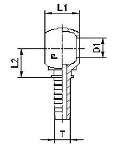
Характеристики

АртикулБрендD1DASHDNID (дюйм)L1L2М
804717CAST18,1-8121/22030,518x1.5
  • DASH размер продукции (рукава, фитинги, TC)
    -8
  • DN (услов внут диам рукава, фитингов)
    12
  • ID (дюйм)
    1/2
  • Размер D1 фитинги Каст
    18,1
  • Размер L1 фитинги Каст
    20
  • Размер L2 фитинги Каст
    30,5
  • Размер M фитинги Каст
    18x1.5