Промышленные рукава AlfaGomma (Италия), фитинги Cast (Италия) - официальные поставки в Россию

Купить Фитинг DN 16 BSP (Ш) 3/4 от производителя Cast

373
руб.
Есть в наличии
Количество:
Доступно
Артикул:
802616
Вес:
0
кг.

Если Вы хотите заказать изделие из нержавеющей стали, замените первые две цифры артикула с 80.... на 81....

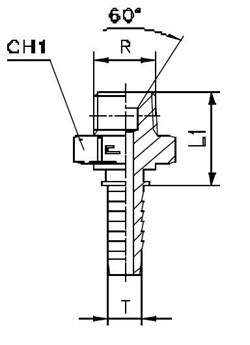
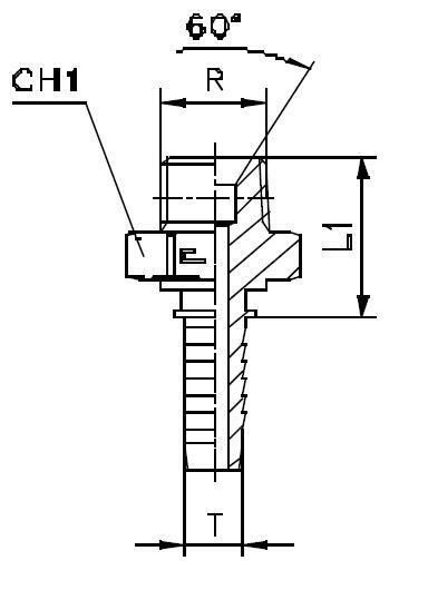
Характеристики

АртикулБрендDASHDNGID (дюйм)L1WP (bar)
802616CAST-10163/45/833,5315
  • DASH размер продукции (рукава, фитинги, TC)
    -10
  • DN (услов внут диам рукава, фитингов)
    16
  • ID (дюйм)
    5/8
  • WP (bar) рабочее давление
    315
  • Бренд
    Cast
  • Размер G фитинги Каст
    3/4
  • Размер L1 фитинги Каст
    33,5