Ваш город - Москва,
угадали?

Промышленные рукава AlfaGomma (Италия), фитинги Cast (Италия) - официальные поставки в Россию

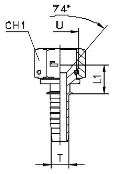
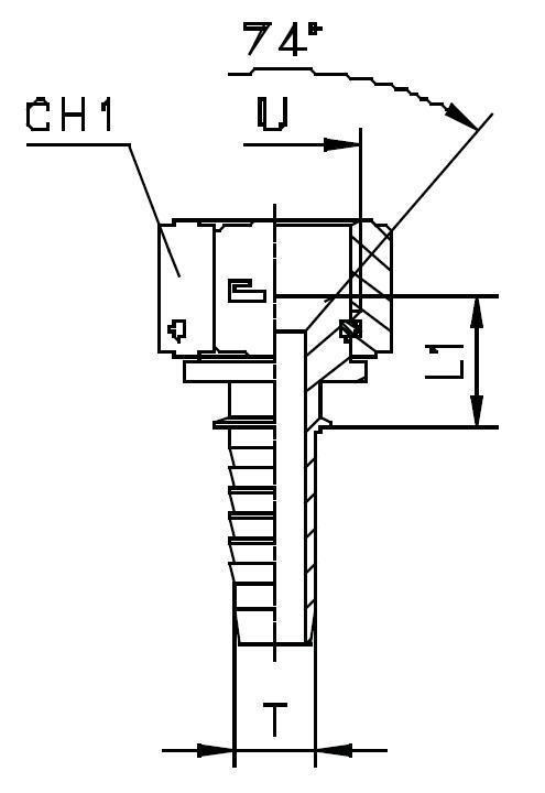
Фитинг DN 20 JIC (Г) 1.1/16 (штифтованная гайка)

445
руб.
Есть в наличии
Количество:
Доступно
Артикул:
801815
Вес:
0
кг.

Если вы хотите заказать изделие из нержавеющей стали, замените первые две цифры артикула с 80.... на 81....

Характеристики

АртикулБрендDASHDNID (дюйм)L1UWP (bar)Вид
801815CAST-12193/419,51 1/16-12350X
  • DASH размер продукции (рукава, фитинги, TC)
    -12
  • DN (услов внут диам рукава, фитингов)
    19
  • ID (дюйм)
    3/4
  • WP (bar) рабочее давление
    350
  • Вид
    X
  • Размер L1 фитинги Каст
    19,5
  • Размер U фитинги Каст
    1 1/16-12