Промышленные рукава AlfaGomma (Италия), фитинги Cast (Италия) - официальные поставки в Россию

Купить Фитинг DN 20 JIC (Г) 1.3/16 (штифтованная гайка) от производителя Cast

501
руб.
Есть в наличии
Количество:
Доступно
Артикул:
801816
Вес:
0
кг.

Если вы хотите заказать изделие из нержавеющей стали, замените первые две цифры артикула с 80.... на 81....

Характеристики

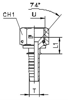
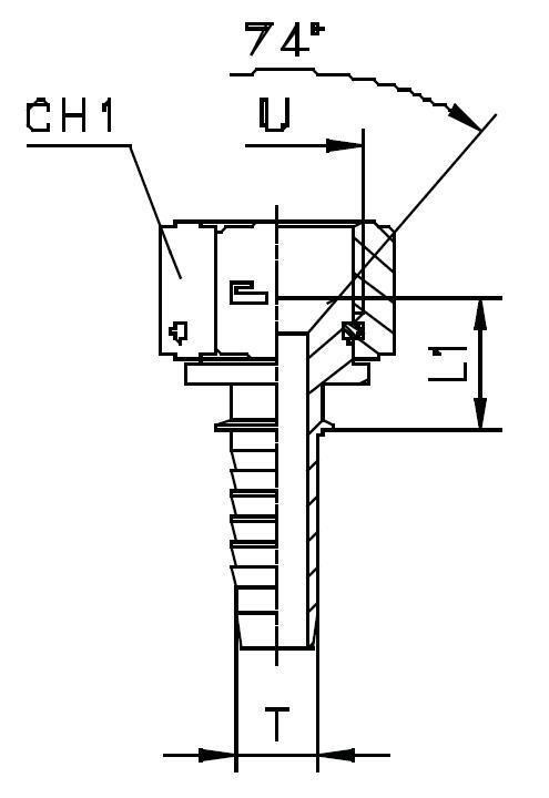
АртикулБрендDASHDNID (дюйм)L1UWP (bar)Вид
801816CAST-12193/4211 3/16-12290X
  • DASH размер продукции (рукава, фитинги, TC)
    -12
  • DN (услов внут диам рукава, фитингов)
    19
  • ID (дюйм)
    3/4
  • WP (bar) рабочее давление
    290
  • Бренд
    Cast
  • Вид
    X
  • Размер L1 фитинги Каст
    21
  • Размер U фитинги Каст
    1 3/16-12