Промышленные рукава AlfaGomma (Италия), фитинги Cast (Италия) - официальные поставки в Россию

Купить Фитинг DN 25 BSP (Ш) 1.1/4 от производителя Cast

1 817
руб.
Есть в наличии
Количество:
Доступно
Артикул:
802620
Вес:
0
кг.

Если Вы хотите заказать изделие из нержавеющей стали, замените первые две цифры артикула с 80.... на 81....

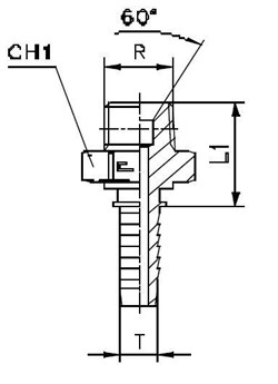
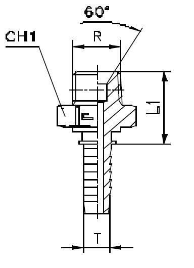
Характеристики

АртикулБрендDASHDNGID (дюйм)L1WP (bar)
802620CAST-16251 1/4140200
  • DASH размер продукции (рукава, фитинги, TC)
    -16
  • DN (услов внут диам рукава, фитингов)
    25
  • ID (дюйм)
    1
  • WP (bar) рабочее давление
    200
  • Бренд
    Cast
  • Размер G фитинги Каст
    1 1/4
  • Размер L1 фитинги Каст
    40