Промышленные рукава AlfaGomma (Италия), фитинги Cast (Италия) - официальные поставки в Россию

Купить Фитинг DN 25 JIC (Г) 1.5/8 (штифтованная гайка) от производителя Cast

932
руб.
Есть в наличии
Количество:
Доступно
Артикул:
801819
Вес:
0
кг.

Если вы хотите заказать изделие из нержавеющей стали, замените первые две цифры артикула с 80.... на 81....

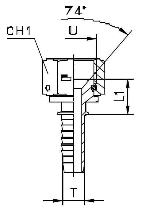
Характеристики

АртикулБрендDASHDNID (дюйм)L1UWP (bar)Вид
801819CAST-16251231 5/8-12240X
  • DASH размер продукции (рукава, фитинги, TC)
    -16
  • DN (услов внут диам рукава, фитингов)
    25
  • ID (дюйм)
    1
  • WP (bar) рабочее давление
    240
  • Бренд
    Cast
  • Вид
    X
  • Размер L1 фитинги Каст
    23
  • Размер U фитинги Каст
    1 5/8-12