Промышленные рукава AlfaGomma (Италия), фитинги Cast (Италия) - официальные поставки в Россию

Купить Фитинг DN 32 BSP (Ш) 1.1/4 от производителя Cast

1 177
руб.
Есть в наличии
Количество:
Доступно
Артикул:
802621
Вес:
0
кг.

Если Вы хотите заказать изделие из нержавеющей стали, замените первые две цифры артикула с 80.... на 81....

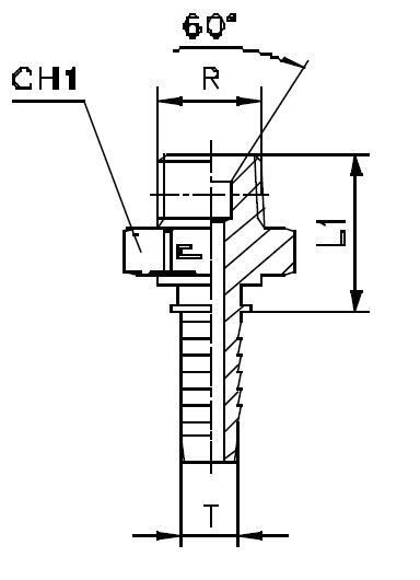
Характеристики

АртикулБрендDASHDNGID (дюйм)L1WP (bar)
802621CAST-20311 1/41.1/445,5200
  • DASH размер продукции (рукава, фитинги, TC)
    -20
  • DN (услов внут диам рукава, фитингов)
    31
  • ID (дюйм)
    1.1/4
  • WP (bar) рабочее давление
    200
  • Бренд
    Cast
  • Размер G фитинги Каст
    1 1/4
  • Размер L1 фитинги Каст
    45,5