Промышленные рукава AlfaGomma (Италия), фитинги Cast (Италия) - официальные поставки в Россию

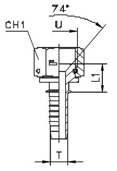
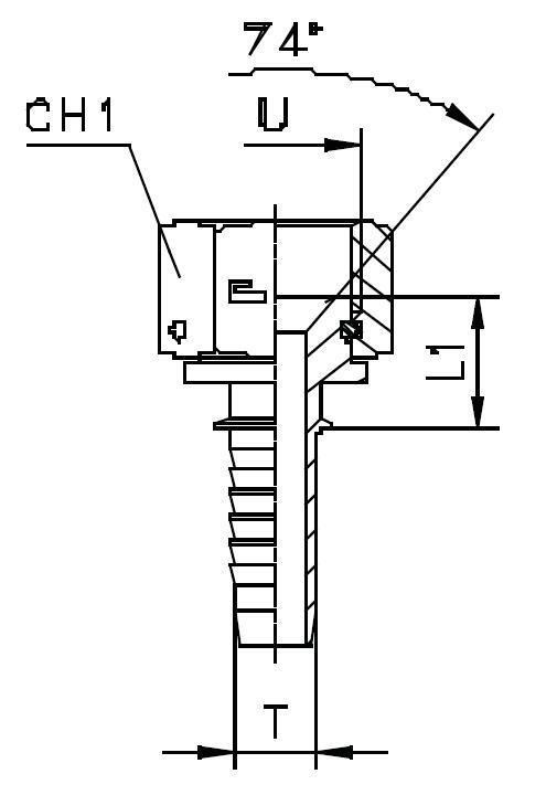
Фитинг DN 32 JIC (Г) 1.5/8 (штифтованная гайка)

1 161
руб.
Есть в наличии
Количество:
Доступно
Артикул:
801820
Вес:
0
кг.

Если вы хотите заказать изделие из нержавеющей стали, замените первые две цифры артикула с 80.... на 81....

Характеристики

АртикулБрендDASHDNID (дюйм)L1UWP (bar)Вид
801820CAST-20311.1/4241 5/8-12210X
  • DASH размер продукции (рукава, фитинги, TC)
    -20
  • DN (услов внут диам рукава, фитингов)
    31
  • ID (дюйм)
    1.1/4
  • WP (bar) рабочее давление
    210
  • Вид
    X
  • Размер L1 фитинги Каст
    24
  • Размер U фитинги Каст
    1 5/8-12