Промышленные рукава AlfaGomma (Италия), фитинги Cast (Италия) - официальные поставки в Россию

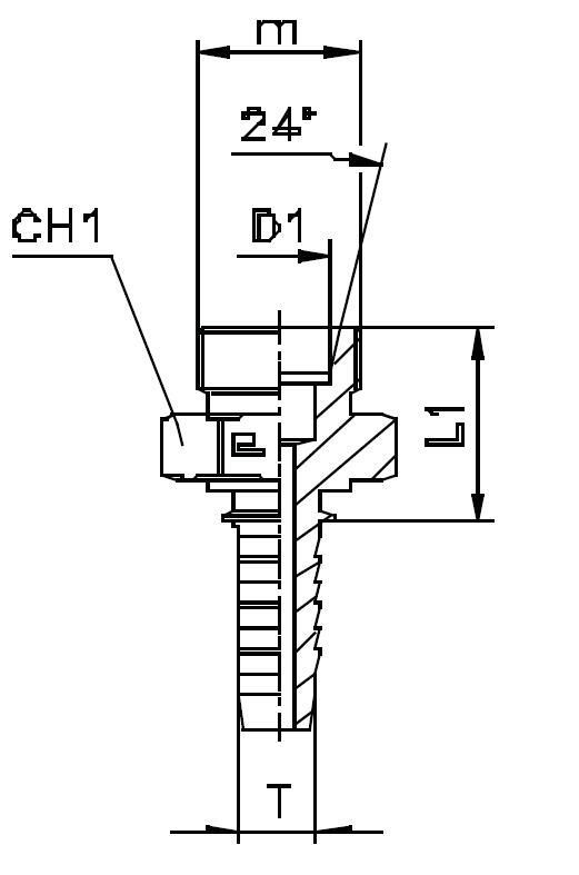
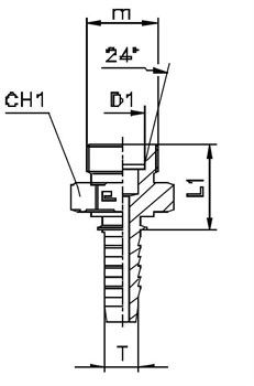
Купить Фитинг DN 38 DKO-L (Ш) 52x2 42 от производителя Cast

2 481
руб.
Есть в наличии
Количество:
Доступно
Артикул:
800934
Вес:
0
кг.

Фитинг DN 38 DKO-L (Ш) 52x2 42

  • Бренд
    Cast