Промышленные рукава AlfaGomma (Италия), фитинги Cast (Италия) - официальные поставки в Россию

Купить Фитинг DN 50 BSP (Ш) 2 от производителя Cast

4 295
руб.
Есть в наличии
Количество:
Доступно
Артикул:
802625
Вес:
0
кг.

Если Вы хотите заказать изделие из нержавеющей стали, замените первые две цифры артикула с 80.... на 81....

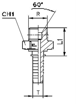
Характеристики

АртикулБрендDASHDNGID (дюйм)L1WP (bar)
802625CAST-32512258,5125
  • DASH размер продукции (рукава, фитинги, TC)
    -32
  • DN (услов внут диам рукава, фитингов)
    51
  • ID (дюйм)
    2
  • WP (bar) рабочее давление
    125
  • Бренд
    Cast
  • Размер G фитинги Каст
    2
  • Размер L1 фитинги Каст
    58,5